
PRODUCT
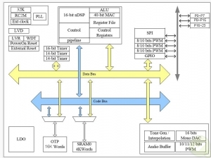
16-bit DSP
Trade Description
Product Feature
n 16-bit RISC DSP处理器
n 4-Stage Pipeline,可达1 Clock Cycle per Instruction
n 内部运算频率可达40 MHz/40 MIPS(典型为32 MHz/32 MIPS).
n 内建2M Hz RC基频振荡电路(0.5%误差)
n 内建32768 Hz / 4M Hz / PLL(基频 * R)系统频率
n 可使用来自PORT[14]的外部系统频率
n 内建16K Words(32K Bytes)ROM(OTP)
n 内建4K Words(8K Bytes)SRAM
n 内建40-bit MAC(乘加器)
n MAC支持signed / unsigned饱和运算
n ALU支持signed饱和运算
n 内建1组16-bit Timer和2组14-bit Timer
n 3个8/10位PWM I/O波型输出
n 1组平滑插点/声波产生器,能提升输出讯号SNR
n 24个I/O Pin,可选LDO电位及唤醒功能的
n 内建100mA LDO,可供外部使用3.2V.
n 内建4阶可调LVD(低电压侦测电路)
n 内建可屏蔽/不可屏蔽Watch Dog Timer电路
n 1组SPI,提供1/2/4 Bits控制接口
n 1组16位ΔΣ Multi-Level架构高精度DAC
n 1组11/12 bits PWM喇叭驱动电路,4阶推力可选
n 工作电压范围2.4V至5.1V(LVR预设2.1V)
n 省电模式耗电2uA