
PRODUCT
Trade Description
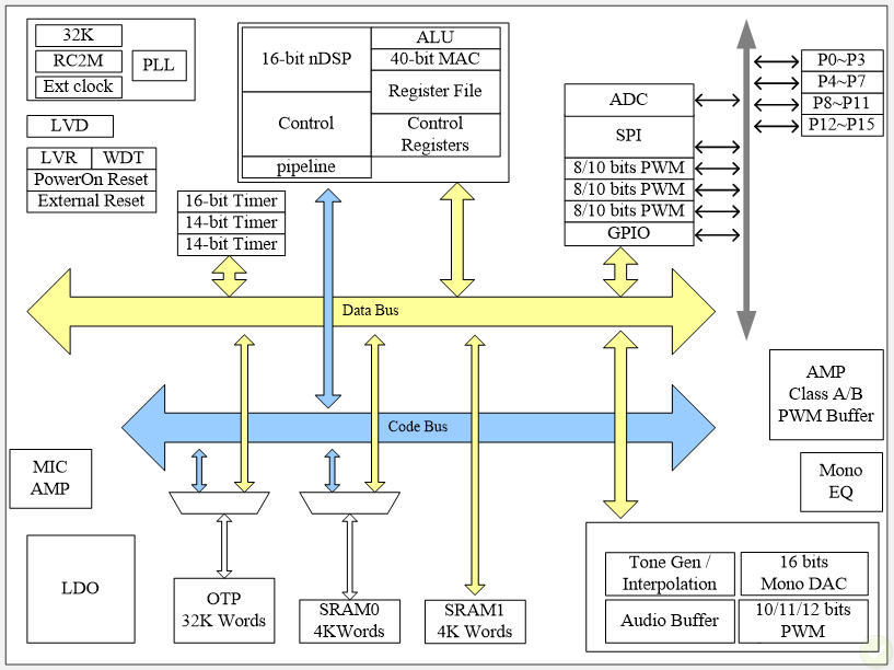
Product Description
n 16-bit RISC DSP
n 4-Stage Pipeline,1 Clock Cycle per Instruction
n System Clock 55 MHz/55 MIPS (Tpy. 55 MHz/55 MIPS).
n Built-in 2M Hz RC oscillator(accuracy 0.5%)
n Built-in 32768 Hz / 4M Hz / PLL clocks
n External clock input PORT[14]
n Built-in 32K Words(64K Bytes)ROM(OTP)
n Built-in 8K Words(16K Bytes)SRAM
n Built-in 40-bit MAC(DSP instruction)
n MAC supports signed / unsigned saturation
n ALU supports signed saturation operation
n Built-in 16 Analog inputs and built-in VREF for 14bit ADC.
n Built-in 3 x 14 bit ADC.
n Built-in 1 x 16-bit Timer and 2 x 14-bit Timer
n 3 x 8/10bit PWM output(I/O)
n 1 tone generator (interpolation)
n 1 MIC amplifier 64 levels (0~63dB).
n 16x general purpose I/O (LDO/VCC voltage and programmable wakeup )
n Built-in 100mA LDO (@3.0V).
n Built-in 4 levels LVD(Low Voltage Detect)
n Built-in WDT(Watch Dog Timer) maskable/unmaskable
n 1x SPI(Duwal/Quad) interface
n 1x16 bit ΔΣ Multi-Level high resolution DAC
n 1xPWM Speaker Amplifier (10/11/12 bits PWM / 4 driving levels)
n 16 levels amplifier gain control.
n Class AB /PWM Speaker Driver with 4 levels of driving controlling.
n Operating Voltage 2.4V~5.1V(LVR default is 2.1V)
n Standby Current 2uA